Accueil > NEW'S lasers à gaz > 021 TEA CO2 laser nouvelle structure BaTiO3

021 TEA CO2 laser nouvelle structure BaTiO3



  LASER CO2 TEA NOUVELLE STRUCTURE.

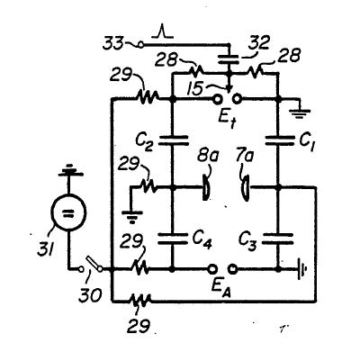
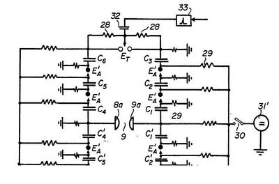
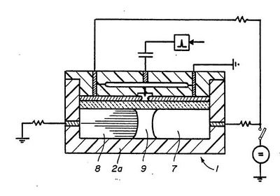
Cette structure se compose d'une ligne de Blumlein en BaTiO3
des électrodes de décharge du type "Lamberton" et de l'éclateur intégré. Une autre variante comprend un générateur de Marx de 3 étages intégré composé de disques de titanate de baryum.

Ce développement à été fait en 1982 dans le cadre d'un projet de recherche à Genève.

 
  
   
Video en HD

            
0 article(s)
 
Newsletter
Inscrivez vous à notre newsletter.
Je m'abonne
Je me désabonne
www.swissrocketman.fr © tous droits réservés
Site réalisé avec PowerBoutique - creation site e-commerce