Accueil > NEW'S lasers solides > Femtosecond fiber laser

Femtosecond fiber laser



EN COURS DE CONSTRUCTION !
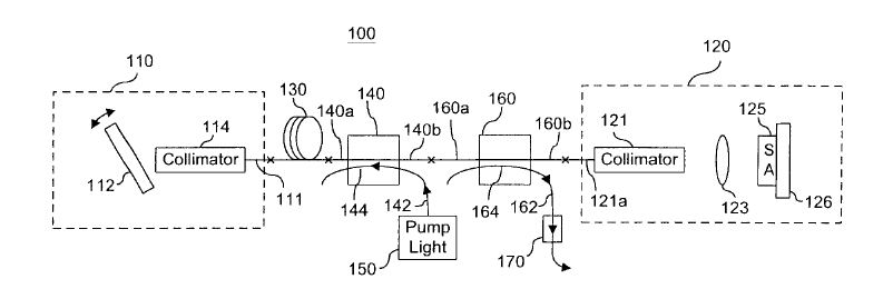
LASER FEMTOSECONDE A FIBRE ET A BLOCAGE DE MODE PASSIF AVEC UN MIROIR SESAM.

Ce laser femtoseconde à blocage de mode passif model CALMAR LASERS FPL-M2UFFLUM22, utilise un semi-conducteur à absorption saturable SESAM (miroir 125) et comme médium amplificateur une fibre dopée à l'Ytterbium(130) qui est pompée par une diode laser à 970nm.(150)
Un des miroir du résonateur se compose réseau de diffraction holographique(112) et il permet de changer la fréquence de sortie des pulses lasers entre 1030 et 1065 nm.
Ce module est une architecture insensible aux vibrations et aux chocs et il présente une stabilité exceptionnelle et une fiabilité maximum et ceci sans aucun réglage !
La durée de pulse peut être précisé à la fabrication entre 500fs et 5ps selon l'architecture de la fibre (longueur de celle-ci).
Ce laser va nous permettre de réalisé l'expérience de la mesure des pulses par autocorrélation
optique interférométrique multi-coups, utilisant une photodiode GaP en régime d'absorption à 2 photons. http://www.swissrocketman.fr/realisation-autocorelateur,fr,8,127.cfm








0 article(s)
 
Newsletter
Inscrivez vous à notre newsletter.
Je m'abonne
Je me désabonne
www.swissrocketman.fr © tous droits réservés
Site réalisé avec PowerBoutique - creation site e-commerce