Accueil > NEW'S lasers solides > Laser UV accordable entre 263 et 330nm

Laser UV accordable entre 263 et 330nm



LIDAR de la NASA

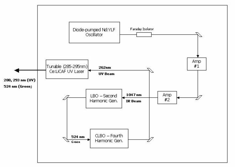
Ce laser UV accordable entre 270 et 340nm utilise un cristal Ce:LiCAF qui est pompé par un laser Nd:YLF pompé transveralement par de diodes lasers.
Il était utilisé par la NASA dans les années 2000 pour la mesure de l'ozone dans la troposphère et la stratosphère.
Il travail en régime pulsé à 1kHz avec une durée de pulse de 26 nanosecondes.

Le laser pompe est un Nd:YLF quadruplé en fréquence au moyen d'un doubleur utilisant un LBO avec réglage de température puis encore une fois doublé au moyen d'un cristal CLBO ce qui génère la quatrième harmonique à 262nm pour le pompage du Ce:LiCAF.

Rapport de la NASA pdf


Ce laser je l'ai acheté sur eBay pour 1900 $ soit moins de 1% du prix réel.
Il me permettra de me familiariser avec un système relativement complexe et pour des applications nécessitant de l'UV entre 267 et 330nm.



Module contenant le doubleur CLBO ainsi que le cristal Ce:LiCAF monté sur une tourelle refroidie.
Un prisme de dispersion en LiF ainsi qu'un miroir monté sur axe de rotation vertical permet de choisir la fréquence démission entre 270 et 340nm.
Ce:LiCAF présente une absorption de la transition 4f-5d avec un largeur de raie de 3000cm-1 centrée à 37000cm-1.
La fluence de saturation est de 115mJ/cm2 ce qui permet de réalisé des émissions femtoseconde et de l'utiliser dans des amplificateurs multi-passages car la durée de fluorescence est de 30ns.
La fluence de pompe est de 0.3J/cm2.


Le laser pompe se compose d'un oscillateur déclenché au moyen d'une cellule de pockel permettant de générer des pulses de quelques microjoules à 1kHz.
Ces pulses passent à travers un isolateur de Faraday pour évité que la rétroaction des 2 amplificateurs ne puisse détruire le cristal oscillateur.
Puis, le faisceau passe à travers 2 amplificateurs multi-passages à pompage transverse (Brevet de Q-peak).
A la sortie du 2ème amplificateur le faisceau présente les caractéristiques suivantes: énergie par pulse 1.4mJ, durée 26ns, TEM00, fréquence de répétition 1kHz ,longueur d'onde 1047nm.
Ce faisceau rentre dans une cellule thermostatique contenant un cristal LBO (Lithium Beta Borate) à la sortie on obtient la seconde harmonique soit 524nm (vert) avec un rendement de conversion de 17%. Puis ce faisceau vert est envoyé dans une autre cellule contenant cette fois un cristal CLBO (Césium Lithium Borate) permettant de travailler de la 3ème à la 5ème harmonique 355 à 213nm.






voici le module oscillateur pompé transversalement par 2 diodes lasers de 100W qcw.
 




0 article(s)
 
Newsletter
Inscrivez vous à notre newsletter.
Je m'abonne
Je me désabonne
www.swissrocketman.fr © tous droits réservés
Site réalisé avec PowerBoutique - creation site e-commerce