Accueil > NEW'S lasers à gaz > INDYSTAR excimer ArF 12mJ 1kHz laser

INDYSTAR excimer ArF 12mJ 1kHz laser



INDYSTAR  Laser excimer à fluorure d'argon émettant à 193nm 12mJ par pulse à 1 kHz !



Ce laser se compose de 2 parties bien distincte qui sont: le module électronique de mise en forme de l'impulsion haute tension servant à excité le gaz et l'enceinte de décharge contenant le gaz.
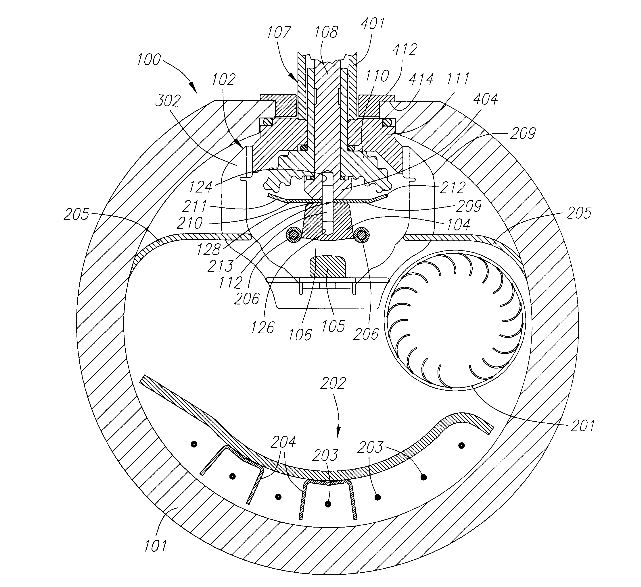
Dans l'enceinte de décharge se trouvent les électrodes de décharges en laiton passivée ,les électrodes de pré-ionisation corona en céramique, un échangeur de chaleur gaz/eau, un filtre électrostatique, la turbine faisant circuler le gaz à travers les électrodes de décharges et l'échangeur de chaleur.Sur les deux flasques de fermeture du tube de décharge se trouvent les miroirs plan/plan formant la cavité résonnante.
La turbine est entraînée par un moteur électrique muni d'un couplage magnétique.Les électrodes de décharge doivent être usinées et réglées avec une haute précision inférieur à 50 microns pour éviter des décharges prématurées créant des instabilités qui conduisent à des décharges en arcs ce qui empêche le pompage correcte du gaz formant l'excimer donc pas d'effet laser.On constate que ce type de laser n'est pas à la portée des amateurs lasers de part la complexité et la précision et le "savoir faire" nécessa
ire ! 
 


Concernant le circuit de décharge il se compose de 2 IGBT déchargeant un condensateur de 1.5 uF sous 1350V à travers un inducteur magnétique servant également de transformateur élévateur de tension puis suivi de 2 étages de compression (donc au total 3 étages de compression). L'inducteur saturable (self non linéaire) se comporte comme un interrupteur ouvert quand elle n'est pas saturée donc pour un faible courant de passage. Lorsque celui-ci augmente et que l'induction magnétique sature l'alliage amorphe, celui-ci devient conducteur et se comporte comme un interrupteur fermé. Le rapport entre l'inductance saturée et non saturée donne le facteur de compression d'un étage ( environ 5x), donc avec 3 étages on obtient un facteur de compression d'environ 125. La décharge du condensateur Co
au moyen des 2 IGBT est de 1 microseconde donc après compression on obtient un pulse de 8ns se qui est une bonne vitesse de pompage pour un laser à excimer.




Le profil du faisceau de sortie du laser à 193nm, énergie par pulse 12mJ en 6ns soit une puissance crête de 2MW ceci à 1000 pulses par secondes ! La dimension du faisceau est de 6x3mm avec une divergence de 1.5x3mrad.

Les électrodes de pré-ionisation sont du type corona.Elles se composent d'une multitudes des pins de chaque coté des électrodes de décharge principales. La décharge au bout de la pointe se fais sur une céramique en titanate de barium qui crée une reptation de la décharge sur sa surface se qui crée de la lumière ultra-violette créant des photo-électrons dans le gaz entre les électrodes de décharges principales. Il faut une densité de 107 à 109 électrons/cm3 pour bien pré-ionisé le gaz.






Video en HD


0 article(s)
 
Newsletter
Inscrivez vous à notre newsletter.
Je m'abonne
Je me désabonne
www.swissrocketman.fr © tous droits réservés
Site réalisé avec PowerBoutique - creation site e-commerce