Lasers à
solides
Lasers à gaz
Lasers
liquides
Lasers
semiconducteurs
EXPERIENCES
Thierry et Arnold
Expériences
Lasers
Théorie
Recherches
médicales
PEROCHEM
Exotic
Thermo Engineering
Menu
Menu
High Q laser model : femtoTRAIN IC-1030-100 fs YB
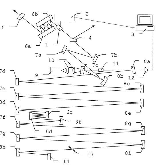
EP2256879A1
Brevet du laser
LASER A FIBRE PULSEE FEMTOSECONDE EN ARCHITECTURE « CPA »
Laser YAG à verrouillage de modes par SESAM
Faire défiler vers le haut